The primary objective of the PULSAR experiment was to observe gamma-ray photons from variable sources and pulsars in the energy range of 0.1 to 5.0 MeV. It was developed at the Instituto de Pesquisas Espaciais (INPE) and the Conselho Nacional de Desenvolvimento Científico e Tecnológico (CNPq) in Brazil.
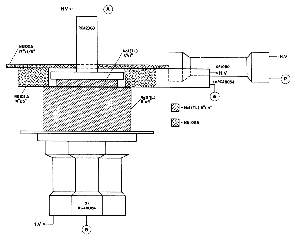
In the image at left we can see an scheme of the detector. The heart of the system was a cylindrical sodium iodide (NaI(Tl)) scintillation crystal, 6 inches (15.24 cm) in diameter and 1 inch (2.54 cm) thick, providing an effective detection area of approximately 182 cm². This primary detector was optically coupled to an RCA 8060 photomultiplier tube using a silicone grease interface to maximize light collection efficiency. The assembly achieved an energy resolution of 23% full width at half maximum (FWHM) at 611 keV, as measured during ground calibration tests.
Surrounding the main detector was an anticoincidence shielding system designed to reject background radiation. Directly beneath the primary crystal was an 8-inch by 4-inch (20.32 × 10.16 cm) NaI(Tl) crystal serving as a bottom shield against upward-moving gamma rays and secondary particles. A 14-inch diameter by 5-inch tall (35.56 × 12.7 cm) annular plastic scintillator made of NE102 surrounded the sides of the detector assembly, providing charged particle rejection through coincidence vetoing. The top of the detector stack incorporated a 5 mm thick plastic scintillator panel to tag and reject incoming charged particles before they could reach the sensitive volume.
The electronic readout system employed a triggering scheme where signals from the side and bottom shielding detectors were passively summed before amplification. These signals fed into lower-level discriminators set at an equivalent energy threshold of approximately 100 keV. Valid gamma-ray events required the main detector to fire without simultaneous signals from the anticoincidence shields, implemented through a NOR gate logic circuit.
Pulse processing occurred through two parallel analysis chains. A 128-channel analog-to-digital converter digitized individual events with 10-bit resolution, packaging each into a 4-millisecond wide data word for telemetry transmission. Simultaneously, a 5-channel pulse-height analyzer sorted events into predefined energy bins, with counts accumulated in scalars before being loaded into an 18-bit shift register at a 16 Hz rate. This dual-path system enabled both detailed spectral analysis with moderate time resolution and coarse spectral monitoring with faster 3.6 millisecond timing capability.
The mechanical structure supported precise alignment of all detector components while maintaining the necessary rigidity for balloon flight conditions. Thermal insulation and active temperature stabilization maintained the photomultiplier tubes within their optimal operating range despite the stratospheric environment.
Power consumption was carefully managed to match the constraints of balloon-borne operations, with the high-voltage supplies for the photomultipliers featuring adjustable gain settings to compensate for temperature-induced variations in scintillator light yield. The telemetry system accommodated both the continuous low-rate transmission of spectral data and the burst-mode transmission of individual events, optimizing the use of available bandwidth for scientific return.
Balloon launched on: 3/22/1985 at 6:12 UTC
Launch site: Balloon Launch Sector, Cachoeira Paulista, Brazil
Balloon launched by: Instituto Nacional de Pesquisas Espaciais (INPE)
Balloon manufacturer/size/composition: Zero Pressure Balloon 74.000 m3
End of flight (L for landing time, W for last contact, otherwise termination time): 3/22/1985 at ~ 14.00
Balloon flight duration (F: time at float only, otherwise total flight time in d:days / h:hours or m:minutes - ): 8 h
Landing site: In Sapopema, Paraná, Brazil
Payload weight: 251 kgs
If you consider this website interesting or useful, you can help me to keep it up and running with a small donation to cover the operational costs. Just the equivalent of the price of a cup of coffee helps a lot.